Skip to content
24000+ Surron Parts Landed!! Parts Diagrams Now Available
24000+ Surron Parts Landed!! Parts Diagrams Now Available

Country

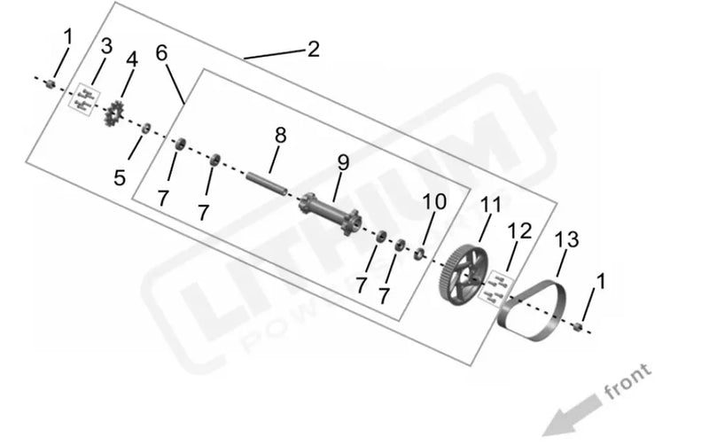
Surron Ultra Bee OEM Primary Drive Belt (Dyco)

by Surron
SKU 13111-YQ5A-0300
Original price $0
Original price $111.99 - Original price $111.99
Original price
Current price $111.99
$111.99 - $111.99
Current price $111.99
 More payment options

Pickup available at Lithium Powersports

Usually ready in 1 hour

Fast & Free Shipping on most orders
Low Price Guarantee – We’ll match or beat any authorized dealer’s price (conditions apply)
Financing Available – Flexible payment options (conditions apply)
Authorized Dealer for every brand we sell
Have questions? Call or text 877-376-6380

Item 13 in image - Surron Ultra Bee OEM Primary Drive Belt (Dyco) UB Model Year 2025 13111-YQ5A-0300